¡õ ¸ÅÊö UQK-71ϵÁиɻÉʽ¸¡ÇòҺλ¿ØÖÆÆ÷£¬¹ã·ºÓÃÓÚÃñÓý¨ÖþÓÃË® ³Ø¡¢Ë®Ëþ¡¢Ë®Ï䣬
ÒÔ¼°Ê¯ÓÍ»¯¹¤¡¢ÔìÖ½¡¢Ê³Æ·¡¢ÎÛË®´¦ÀíµÈÐÐÒµÄÚ ¿ª¿Ú»òÃܱմ¢¹Þ£¬µØÏ³زÛÖи÷ÖÖ
ҺλµÄҺλ²âÁ¿£¬±»¼ì²âµÄ½éÖÊ ¿É·ÖË®¡¢ÓÍ¡¢Ëá¡¢¼î¡¢¹¤ÒµÎÛË®µÈ¸÷ÖÖµ¼µç¼°·Çµ¼
µçÒºÌ壬±¾¿ØÖÆ Æ÷¿É¶ÔҺλ½øÐÐ×Ô¶¯¿ØÖÆ¡£
¡õ ÐͺÅ˵Ã÷

|
½á¹¹ÐÎʽ
£¨Ðͺţ© |
½á ¹û |
¹¦ ÄÜ |
|
a |
Ò»Ö»³£¿ª¸É»É£¨ÉÏ룩
Ò»Ö»³£±Õ¸É»É£¨ÏÂ룩 |
¸ßˮλ¿ª±Ã
µÍˮλͣ±Ã |
|
b |
Ò»Ö»³£¿ª¸É»É£¨ÉÏ룩
Ò»Ö»³£±Õ¸É»É£¨ÏÂ룩 |
¸ßˮλ¿ª±Ã
µÍˮλͣ±Ã |
|
c |
Ò»Ö»³£¿ª¸É»É¹Ü£¨ÉÏ룩
Ò»Ö»³£±Õ¸É»É¹Ü£¨ÏÂ룩 |
×Ô¶¯¿ØÖÆ |
|
d |
ÈýÖ»³£¿ª¸É»É
Ò»Ö»³£±Õ¸É»É |
ÓÃÓÚÉÏ¡¢ÏÂλҺλ¿ØÖƺ͸ߵͼ«ÏÞҺ뱨¾¯ |
|
e |
Ò»Ö»³£¿ª¸É»É
ÈýÖ»³£±Õ¸É»É |
ÓÃÓÚÉÏ¡¢ÏÂλҺλ¿ØÖƺ͸ߵͼ«ÏÞҺ뱨¾¯ |
|
f |
ËÄÖ»³£¿ª¸É»É¹Ü |
×Ô¶¯¿ØÖÆ |
¡õ Ö÷Òª¼¼ÊõÖ¸±ê
1¡¢²âÁ¿·¶Î§
GÐÍ£¨²»Ðâ¸Ö£©¡Ü4m£¬£¨4mÒÔÉÏÐÉ̽â¾ö£©
FÐÍ£¨·úËÜÁÏ£©¡Ü4m
2¡¢±»²â½éÖÊζÈ
¹ú²ú¸É»É¹Ü£10¡æ~+80¡æ£¬½ø¿Ú¸É»É¹Ü£10¡æ~+100¡æ
3¡¢±»²â½éÖʱÈÖØ£º£¾0.7g/cm3
4¡¢¹¤×÷ѹÁ¦£º¡Ü1.6MPa
5¡¢¸É»É¹Ü´¥µãÈÝÁ¿£º220VAC£¬1A
¡õ ¹¤×÷ÔÀí
ÔÚ¿ØÖÆÆ÷ÖÐ×°Èô¸ÉÖ»GAG-5ÐÍ´ó¹¦Âʸɻɹܣ¬µ±×°ÓдŸֵĸ¡ÇòËæÒºÎ»ÉÏ¡¢ÏÂ
ʱ¸É»É¹ÜµÄ´¥µãËæ×Å·¢Éú¶¯×÷£¬´Ó¶ø´ïµ½¿ØÖÆÒºÎ»µÄÄ¿µÄ¡£¿ÉÇý¶¯±Ã¶ÔҺλ½øÐÐÈ«×Ô
¶¯¿ØÖÆ
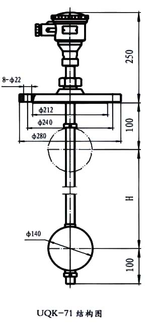
¡õ °²×°ºÍ½ÓÏß
1¡¢ ·¨À¼°²×°G£·¨À¼±ê×¼HG20592£97DN150¡¢PN1.6£¨ÆäËü·¨À¼±ê×¼ÐÉ̽â¾ö£©ÂÝÎÆ
°²×°ÂÝÎÆ³ß´çM30¡Á2
2¡¢ ´«¸ÐÆ÷ÓëÏÔʾÒÇÖ®¼äµÄÁª½ÓÏß²»ÄÜÓë½»Á÷µçԴͬ··óÉ裬ÒòΪ¸ÐÓ¦½»Á÷µçÓпÉÄÜ»á
Ó°ÏìÒÇ±í£¬Í¬Ê±ÎªÁ˱ÜÃâ¸ÉÈÅÐźţ¬¾¡¿ÉÄÜʹÓÃÆÁ±ÎµçÀÂÔÚÌú¹ÜÄÚ·óÉè¡£
3¡¢ ´«¸ÐÆ÷×°ÔÚ±»²âÈÝÆ÷ÉÏ£¬Æä°²×°·½·¨¼ûͼ¶þ£¬´«¸ÐÆ÷϶Ë×îºÃÓëÈÝÆ÷µ×²¿¹Ì¶¨ÀΡ£
4¡¢ ÓÉÓÚÊÜÌú·ÔËÊäµÄÏÞÖÆ£¬´óÓÚ4mÒÔÉϲÉÈ¡·Ö¶Î×°Ï䣬°²×°Ê±ÓÉÓû§×ÔÐк¸½Ó£¬º¸½Ó
ºó¶Î½«º¸·ìï±Æ½Õý£¬²¢×öºÃˮѹÊÔÑ飨ѹÁ¦Ð¡ÓÚ0.6MPa£©È·¶¨²»Â©·½¿ÉʹÓã¬FÐ͵Ä
´«¸ÐÆ÷»¹Ðë½«ËæÏäÀ´µÄ·úËÜÁÏÌ×¹ÜÌ×Éϲ¢¹Ì¶¨£»»òÓû§×ÔÐнâ¾öÔËÊäÎÊÌâ¡£
¡õ ¶©»õÐëÖª
1¡¢ дÃ÷´«¸ÐÆ÷µÄ¹æ¸ñ¡¢Ðͺš¢ÊýÁ¿
2¡¢ дÃ÷´«¸ÐÆ÷µÄ²ÄÖÊ¡¢²âÁ¿µãL1¡¢L2¡¡L3µÄ¾ßÌåλÖü°´«¸ÐÆ÷×ܳ¤£¬Ó¦ÌṩL1¡¢L2¡¡
L3´¥µãÐÎʽ£¨³£¿ª»ò³£±Õ£©£¬È粻ȷ¶¨ÔòÒÔ³£¿ª´¥µãÉú²ú¡£
3¡¢ ´«¸ÐÆ÷ÔÚ°²×°Ç°Ðë½øÐмì²é£¬ÓÃÍòÓñí°ô½ÓÔÚ´«¸ÐÆ÷½ÓÏß¶Ë×Ó£¬µ±¸¡ÇòÉÏÏÂÒÆ¶¯Ê±£¬Ïà
Ó¦µØÊ¹¸É»É¹Ü¶¯×÷¡£