Ê×Ò³ - ÐÂÎÅ - ÕÐÆ¸ - ÏÂÔØ - ²úÆ· - ³§ÉÌ - ·½°¸ - ÎÄÕª - Çó¹º - Õ¹ÀÀ
Ãâ·Ñ×¢²á µÇ¼ | ¹ã¸æ·þÎñ | ¿Í·þÖÐÐÄ
Öлª¹¤¿ØÍø ¡ú ¹¤¿Ø²úÆ· ¡ú ½»Á÷µ÷ѹģ¿é
²úÆ·Ãû³Æ£º ½»Á÷µ÷ѹģ¿é
ÐÍ ºÅ£º MMT-220AA20AL
¼Û ¸ñ£º
Æ· ÅÆ£º 614
 
Êղش˲úÆ·     ²é¿´ÊÕ²Ø
¸ÃÄ£¿é²ÉÓÃÐÂÐÍ´¥·¢·½Ê½£¬´¥·¢¿É¿¿¡¢ÐÔÄÜÎȶ¨¡¢¿ØÖƾ«¶È¸ß¡¢Êä³öÏßÐκá¢Ç¿Èõµç¸ôÀ룬ÊÇÀíÏëµÄ½»Á÷µ÷ѹ¡¢µ÷¹¦²úÆ·¡£
¹ã·ºÓ¦ÓÃÓÚºãΡ¢¿ØÎÂÉ豸¡¢Îę̀µÆ¹â±ä»»µÈ³¡ºÏ¡£
Ò»¡¢¼¼Êõ²ÎÊý£º
1¡¢ ÊäÈëµçѹ£ºAC  110V/220V¡À10%
2¡¢  ƵÂÊ£º50/60HZ
3¡¢  Êä³öµçѹ£ºAC 0~(110V--220V)
4¡¢  Êä³öµçÁ÷£ºAC  40A  
5¡¢  ¸ø¶¨·½Ê½£ºµçѹÐźŠ £¨ 0~5V¡¢0~10V£©»òµçλÆ÷10K¦¸/2W
6¡¢  ¹¤×÷µçԴΪÄÚÖÃ
7¡¢  »·¾³Î¶ȣº-10¡æ~+60¡æ
8¡¢  »·¾³Êª¶È£ºÏà¶Ôʪ¶È¡Ü80RH¡££¨Î޽ᶣ©
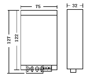
¶þ¡¢°²×°³ß´çͼ   µ¥Î»£ºmm
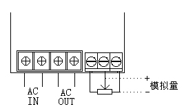
Èý¡¢½ÓÏßͼ
 
 


¹«Ë¾¼ò½é
²úƷĿ¼
¹©Ó¦ÐÅÏ¢

¹«Ë¾Ãû³Æ£º ¼ÃÄÏ¿ÆÑǵç×ӿƼ¼ÓÐÏÞ¹«Ë¾
µç »°£º 158 66622175 / ÁõÁ¢ºì
ÊÖ»ú£º 15866622175
µØ Ö·£º Öйúɽ¶«Ê¡¼ÃÄÏÊÐÌìÇÅÇø±±Ô°´ó½Ö¶«ãøºÓ·78ºÅ£¨Áº¸®Ð¡Çø¶ÔÃæ£©
ÓÊ ±à£º 250033
Ö÷ Ò³£º http://www.jnky.com

¸Ã³§ÉÌÏà¹Ø²úÆ·£º
  • ÖÇÄÜÔüÍÁ³µ×¨ÓÿØÖÆÆ÷
  •  
  • µçº¸»úרÓÿÉÄæÖ±Á÷µ÷ËÙÆ÷
  •  
  • 24/48vÖ±Á÷´®Àøµç»ú
  •  
  • ÅÀÐÐÆ÷רÓÃÖ±Á÷µ÷ËÙÆ÷
  •  
  • 48vÖ±Á÷µç»úµ÷ËÙÆ÷
  •  
  • HHOרÓõ÷ËÙÆ÷
  •  
  • 50AÊý×Ö¿ØÖÆÖ±Á÷PWMµç»úËÙ¶È¿ØÖÆÆ÷
  •  
  • ÖÇÄÜÐÍÖ±Á÷ÎÞË¢µ¥Âí´ï¿ØÖÆÆ÷
  •  
  • µÍѹֱÁ÷ÎÞË¢µç»ú
  •  
  • 24VÖ±Á÷ÎÞË¢Âí´ïÇý¶¯Æ÷
  •  
    ¸ü¶à²úÆ·...
      ¹ØÓÚÎÒÃÇ | ÁªÏµÎÒÃÇ | ¹ã¸æ·þÎñ | ±¾Õ¾¶¯Ì¬ | ÓÑÇéÁ´½Ó | ·¨ÂÉÉùÃ÷ | ·Ç·¨ºÍ²»Á¼ÐÅÏ¢¾Ù±¨  
    ¹¤¿ØÍø¿Í·þÈÈÏߣº
    °æÈ¨ËùÓÐ ¹¤¿ØÍø Copyright@ Gkong.com, All Rights Reserved