http://www.kadhoai.com.cn 2026-04-07 10:41:42 來源:北京菲格瑞思儀表有限公司
一、概述
標準法蘭取壓孔板節流裝置是無刻度的流量測量裝置,它與氣動、電動差壓變送器或雙波紋管差壓變送器配套使用。在冶金、化工、石油、電力工業係統連續測量介質溫度≤400℃的液體、氣體、zhengqiliujingkongbansuochanshengdeyacha,youbiansongqijianggaiyachaxunhaozhuanhuanchengbilideshuchuxinhao,zaiyouerciyibiaohuotiaojieqi,duibeiceliangliuliangjinxingjilu,zhishihuotiaojie。
二、結構
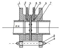
1. 傳感器結構如圖1、2所示:

圖1、標準環室孔板節流裝置結構示
圖(Pg≤25)
1、法蘭 2、導管
3、前環室 4、節流件
5、墊 6、後環室 7、墊
8、螺母 9、螺栓

圖2、標準法蘭孔板節
流裝置示意圖((Pg≥64)
1、取壓法蘭2、孔板
3、導壓管4、密封墊5、螺母
6、螺栓
※注:公稱通徑根據工藝條件要求,通徑從Φ50~Φ400MM。
例:LGBA—16—80表示:標準角接孔板節流裝置,水平安裝,工作壓力6kgf/cm2準
公稱通徑為Dg80
北京菲格瑞思儀表有限公司
地址:北京市海澱區上地三街9號金隅嘉華大廈B906
電話: 手機:
聯係人:宋成秋
傳真:
網址:www.fege.cn